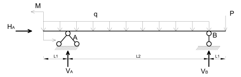
Aprēķināt balsta reakcijas , un dotajam stienim, ja tas slogots ar vienmērīgi izkliedēto slodzi q, koncentrētu spēku P un spēkpāri M! (Visus aprēķinus veikt un atbildi norādīt ar precizitāti 0,1)
Dots:
q = 5 kN/m
P = 18 kN
M = 18 kNm
L1 = 1 m
L2 = 8 m
Aprēķināt:
= ? kN
= ? kNDots:
q = 5 kN/m
P = 18 kN
M = 18 kNm
L1 = 1 m
L2 = 8 m
Aprēķināt:
= ? kN
= ? kN

Atbilde:
= kN (atbildes norādīt ar precizitāti 0,1)
= kN
= kN
= kN
= kN
Lai iesniegtu atbildi un redzētu rezultātus, Tev nepieciešams autorizēties. Lūdzu, ielogojies savā profilā vai reģistrējies portālā!